The W8EXI Wingfoot VFO Exciter
Second Buffer/Multiplier Schematic Diagram and Circuit Description:

Back to the Wingfoot VFO Schematic Diagrams/Circuit Descriptions Page

General Information:
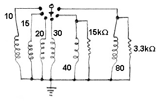
The second buffer/multiplier is also the driver for the 2E26 final amplifier. It operates straight through on all bands except 15m and 10m. On 15m it operates as a tripler, and on 10m it operates as a doubler. The operation and schematic diagram for the second buffer/multiplier are essentially identical to those of the first buffer/multiplier, except for the addition of resistive loading on the 40m and 80m tank coils to broaden their response.

The second buffer/multiplier uses a 6AG7 with cathode bias. The bias is set so that the amplifier does not operate as a linear amplifier. Instead, the amplifier distorts the signal, creating higher harmonics in addition to the fundamental frequency. The desired harmonic (or the fundamental) can then be selected with a tuned circuit in the plate of the tube. The second buffer/multiplier is keyed along with the oscillator, first buffer/multiplier, and final amplifier.

Second Buffer/Multiplier
Click On A Section of the Schematic
Below for Information on That Part of the Circuit:

2nd Buffer/Multiplier Bandswitch Plate Tank Coils Screen and Plate Metering Resistors Plate Coupling Capacitor Plate Bypass Capacitor Plate RF Choke Screen Bypass Capacitor 6AG7 Tube Cathode Bypass Capacitor Cathode Bias Resistor Grid Resistor Input Coupling Capacitor

Or click on one of the links below:

Second Buffer/Multiplier
 Input Coupling Capacitor
 Grid Resistor
 Cathode Bias Resistor
 Cathode Bypass Capacitor
 6AG7 Tube
 Screen Bypass Capacitor
 Plate RF Choke
 Plate Bypass Capacitor
 Screen and Plate Metering Resistors
 Plate Coupling Capacitor
 Bandswitch
 Plate Tank Coils


Second Buffer/Multiplier:
 
Input Coupling Capacitor:
The input coupling capacitor allows the signal from the output of the 1st buffer/multiplier to pass through to the input of the second buffer/multiplier, while preventing the DC bias on the tube from flowing backwards into the 1st buffer/multiplier output. The value of this capacitor is not critical. 100pf is a commonly used value.


Input Coupling Capacitor


 
Grid Resistor:
The grid resistor serves three purposes:
1. It provides a load for the previous stage.
2. It allows the cathode bias to reach the grid of the tube when the key is down.
3. It allows blocking bias to reach the grid of the tube when the key is up.


Grid Resistor


 
Cathode Bias Resistor:
As current flows through the cathode bias resistor it develops a voltage drop which is used to provide bias for the tube. This resistor is chosen so that when the tube is driven it is sometimes completely cutoff. This "chops" the waveform and generates the harmonics that are needed for multiplication. The voltage across the resistor is smoothed out by the cathode bypass capacitor.


Cathode Bias Resistor


 
Cathode Bypass Capacitor:
The voltage developed across the cathode bias resistor will fluctuate with the output signal, giving negative feedbback, unless it is smoothed out by the cathode bypass capacitor. Another way to look at it is that the cathode bypass capacitor shunts any RF around the cathode bias resistor while preventing the flow of any direct current through the capacitor.


Cathode Bypass Capacitor


 
6AG7 Tube:
Since the 6AG7 used in the oscillator also makes a great amplifier, it was also used in the 1st and 2nd buffer/multipliers. Using the same tube in several places is a good idea since it makes maintenance easier. The best way to check a tube is to replace it with a known good tube. If the same tube is used in several circuits, only one new tube need be kept in stock for testing purposes.

You can click here for a 6AG7 data sheet.


6AG7 Tube


 
Screen Bypass Capacitor:
It is important that no RF be present on the screen grid of the tube. The screen bypass capacitor shunts any RF on the screen to ground while preventing the DC voltage on the screen from being shorted to ground.


Screen Bypass Capacitor


 
Plate RF Choke:
The RF output is taken from the plate of the tube. The plate RF choke prevents the RF on the plate from flowing back to the plate supply, while allowing the DC voltage from the plate supply to reach the tube. The value of this choke is not critical. 2.5mH is a commonly available value, often used in this application.


Plate RF Choke


 
Plate Bypass Capacitor:
The plate bypass capacitor affords an extra measure of protection by shunting any RF that might have leaked through the plate RF choke to ground. The combination of the plate bypass capacitor and the plate RF choke insures that the RF doesn't get someplace it doesn't belong.


Plate Bypass Capacitor


 
Screen and Plate Metering Resistors:
One of the unusual features of the Wingfoot VFO Exciter is the use of current metering resistors throughout the transmitter. One of these is included in the screen lead of the second buffer/multiplier and another in the plate lead. By connecting a voltmeter across the resistors and using Ohm's law, the screen and plate currents in the 2nd buffer/multiplier can be determined.


Metering Resistors


 
Plate Coupling Capacitor:
The plate coupling capacitor allows the RF on the plate of the tube to pass through to the plate tank circuit while preventing the DC plate voltage from reaching the tank circuit. The value of this capacitor is not critical. Any value between 100pf and 1000pf (0.001uf) is fine. The capacitor must be able to withstand the DC plate voltage on the tube.


Plate Coupling Capacitor


 
Bandswitch:
The bandswitch selects the plate tank coil to be used in the output of the 2nd buffer/multiplier. A different coil is used for each of the bands.


Bandswitch


 
Plate Tank Coils:
The plate tank coil selected by the bandswitch resonates with the output capacitance of the tube at the desired frequency. The 80m and 40m coils are shunted with loading resistors to broaden their frequency response. The plate tank coils are wound on high quality ceramic coil forms and are adjustable.


Plate Tank Coils



meterBack to Dr. Greg Latta's Electrical Engineering and Amateur Radio Pages


Questions, Comments, and E-Mail

LetterIf you have any questions or comments, you can send E-Mail to Dr. Greg Latta at glatta@frostburg.edu

Thanks for stopping by!